Онлайн-звонок

 

 

 

 

 

 

MAINCA - ленточные пилы, мясорубки, шприцы для изготовления колбас, куттера, фаршмешалки

MAINCA - ленточные пилы, мясорубки, шприцы для изготовления колбас, куттера, фаршмешалки    



Описание:

 

О компании

Фирма “MAINCA” была основана в Испании в 1971 году. Сегодня “MAINCA” признана, одним из передовых производителей в секторе мясоперерабатывающего оборудования. Оборудование “MAINCA” предназначено для маленьких и средних предприятий, мини-заводов, супермаркетов.
В ассортименте пилы ленточные, гидравлические шприцы, фаршмешалки, мясорубки, куттера.

Преимущества МАINCA:

  • высокое качество, проверенное во многих странах мира.
  • быстрая реакция и постоянная информативная поддержка.
  • сертификаты "CE", “ГОСТ”.

 

Оборудование

Ленточные пилы

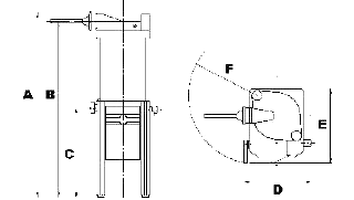
MAINCA Ленточные пилы ВМ-1800 MAINCA Ленточные пилыВМ-2000 MAINCA Ленточные пилы ВМ-3000JV MAINCA Ленточные пилы BM-3000LHC MAINCA Ленточные пилы габариты
ВМ-1800 ВМ-2000 ВМ-3000JV BM-3000LHC габариты

Идеальны для резки свежего, замороженного мяса, мяса с костью. Изготовлены полностью из нержавеющей стали. Можно заказать с ручным или автоматическим натяжными устройствами, толкателем продукта или подвижным столиком, емкостью для отходов. Снабжены максимально-безопасной конструкцией – остановка двигателя в течение 4 секунд с помощью кнопки СТОП, или при открывании дверцы.

Модель Габариты, мм Шкив, мм Длина полотна, мм Напряжение сети, V Мощность, кВт
А В С D E F G H I J
ВМ-1800 515 328 875 230 200 200 432 514 316 365 230 1750 230 1,1
ВМ-2000 600 377 1033 300 230 200 483 592 370 440 275 2040 230 1,1
ВМ-3000JV
BM-3000LHC
822 920 1800 400 310 310 715 850 570 566 330 2930 230 2,2

 

Мясорубки

MAINCA Мясорубки PC82 / PC22 MAINCA Мясорубки PM70 / PM12 MAINCA Мясорубки PM70 / PM12 MAINCA Мясорубки PM114 MAINCA Мясорубки PM114L / PM98L / PM32L
PC82 / PC22 PM70 / PM12 PM70 / PM12 PM114 PM114L / PM98L / PM32L

Возможные системы резки: “Unger” (простая, двойная и тройная резка) и “Enterprise” (простая резка).  Cпециальная конструкция блока подачи мяса позволяет избежать передачи тепла из двигателя. Изготовлены полностью из нержавеющей стали. Легко разбираются для чистки . Предназначены для работы с любыми видами бескостного мяса. Мощные двигатели.

Модель Габариты, мм Производительность, кг/час Напряжение сети, V Мощность, кВт
А В С D E F G
PM-70 / PM-12 410 175 270 455 210 410 310 170 230 0,74
PC-82 / PC-22 414 155 414 494 310 424 310 350 230 1,1
PC-98 / PC-32 609 104 537 736 337 553 410 800 230 2,2
PM-98L / PM-32L 720 540 500 900 410 995 460 700 230 2,2
PM-114 605 100 370 750 280 570 405 1000 230-400 3,7
PM-114L 840 520 500 950 410 1010 535 1000 230-400 3,7

 

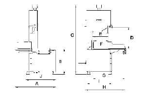
Шприцы для изготовления колбас

MAINCA Шприцы для изготовления колбас EC-12 MAINCA Шприцы для изготовления колбас EM-20 / EM-30 MAINCA Шприцы для изготовления колбас EM-50 MAINCA Шприцы для изготовления колбас габариты
EC-12 EM-20 / EM-30 EM-50 габариты

Предназначены для изготовления колбас. Шприцы оборудованы независимым масляным баком. Изготовлены из нержавеющей стали. Механизмы имеют регулируемую скорость , автоматическую декомпрессию поршня при отпускании коленного рычага. Поршень может быть легко снят для очистки. Снабжены тремя нержавеющими воронками диаметром 15, 20 и 30 мм. (Опция: 12, 24 и 43 mm.).

Модель Габариты, мм Емкость резервуара, кг Напряжение сети, V Мощность, кВт
А В С D E F
EC-12 1055 1000 500 410 470 395 10 230 0,74
EM-20 1110 1055 500 410 470 395 18 230 1,10
EM-30 1205 1150 550 470 500 440 28 230 1,84
EM-50 1248 1206 573 540 540 490 48 230 1,84

 

Куттера

MAINCA Куттера CМ-14 MAINCA Куттера СМ-21 MAINCA Куттера габариты
CМ-14 СМ-21 габариты

Изготовлены полностью из нержавеющей стали. Снабжены двумя скоростями для ножей и двумя скоростями для резервуара. Снабжены 3-мя ножами (опция: 6 ножей). Машина способна изготовить однородную массу продукта, имеет большую абсорбирующую способность при создании эмульсий, подходит для замороженного мяса. Снабжены максимальными средствами безопасности: торможение ножей при открытии крышки. Аварийная кнопка. Цифровой термометр показывает температуру продукта.

Модель Габариты, мм Емкость резервуара, кг Напряжение сети, V Мощность, кВт
А B C D E F
CМ-14 405 894 565 622 771 465 9 230-400 2,57
СМ-21 800 1030 980 710 840 540 15 230-400 3,90
СМ-41 / СМ-41S 880 1380 1080 910 1140 530 25 230-400 8,09/9,19

 

Фаршмешалки

MAINCA Фаршмешалки RM-20 / RC-40 MAINCA Фаршмешалки RM-150 MAINCA Фаршмешалки RC-100 MAINCA Фаршмешалки габариты
RM-20 / RC-40 RM-150 RC-100 габариты

Изготовлены полностью из нержавеющей стали. Предназначены не только для мясной промышленности, но и для отелей и катеринга, годны для смешивания заправок к салатам, смешивания салат с майонезом. Двойное направление смешивания. Однородное смешивание и замес без пузырьков воздуха - необходимое условие для вяления колбасных изделий. Лопасти в форме «т»легко снимаются для очистки. Опрокидывающиеся резервуар для опустошения, и снабженная пробкой для чистки и мытья (RM-20 и RC-40 без пробки). Возможные варианты: 20, 40, 100, 150 лтр. (12, 27, 65, 100 kг.). Минимальная загрузка: 30%

Модель Габариты Емкость резервуара, кг Напряжение сети, V Мощность, кВт
A B C D E F
RM-20 500 310 560 270 390 380 10-12 230 0,24
RC-40 652 439 725 377 561 492 25-27 230 0,55
RC-100 1002 465 821 1293 613 593 60-65 230 1,29
RM-150 - 712 1283 1510 - - 100-110 230-400 2,21

 

Аппараты для производства гамбургеров и фрикаделек

MAINCA Аппараты для производства гамбургеров и фрикаделек МА-5/МА-10 MAINCA Аппараты для производства гамбургеров и фрикаделек габариты
МА-5 / МА-10 габариты

Изготовлены из нержавеющей стали. Машины могут быть оборудованы: матрицей для гамбургеров или матрицой для фрикаделек. Машины являются практичными и экономичными из-за простоты конструкции и легки в использовании, полностью ручные, снижают затраты времени, легко регулируются по толщине всех изделий (гамбургер, фрикаделька и тефтели) до 40 мм. Являются промежуточным решением между ручной работой и автоматизированной линией. В час возможно приготовить до 300 гамбургеров или около 2000 фрикаделек.

  • МН-аппарат для производства гамбургеров
  • МА-аппарат для производства фрикаделек

 

Модель Габариты, мм Емкость резервуара, кг Диаметр изделия, мм Производительность, шт/час
A B C D
МН-100 / МН-120 / МН-130 380 515 490 425 2,1 1х100/1х120/1х130 300/300/300
МА-5 / МА-10 380 515 490 425 2,1 5х38/10х25 1200/2400

 

 

 

Результат Открыть форму

Отправить заявку

Отправляя данную форму, вы принимаете Пользовательское соглашение
и даете согласие на обработку своих персональных данных.
* Поле обязательно для заполнения

Ваша заявка
успешно отправлена!